復疊空氣源熱泵熱水機組安裝使用說明書
東莞市正旭新能源設備科技有限公司
目錄
一、 產品簡介 ……………………………………………………1
二、 機組操作說明 ………………………………………………2
三、 運輸與安裝 …………………………………………………12
四、 使用與維護 …………………………………………………13
五、 機組安裝系統示意圖 ………………………………………16
敬告各位用戶:
感謝您使用本公司的產品,安裝使用前請仔細閱讀本說明書,因產品的不斷改進,本說明書里面的內容與實際可能會有出入,說明書如有更新恕不另行通知,本公司保留對本說明書的最終解釋權。
一、 復疊式熱泵熱水機組使用說明——產品簡介
復疊空氣源熱泵熱水機組是正旭公司的主要產品之一,該系列產品共有8個標準規格,單臺機組能力為3HP~25HP,可以滿足不同客戶的需求。機組使用環境溫度范圍為-35℃~43℃,制取熱水溫度范圍為30~95℃,該產品使用環境范圍覆蓋廣,制取熱水溫度高,特別適合全年需求高溫熱水的客戶。
1. 壓縮機
采用世界名牌全封閉渦旋式壓縮機,制熱效率高,運行穩定可靠。渦旋盤為柔性設計,抗液擊能力強,噪音低,壽命長。
2. 蒸發器
采用翅片式蒸發器,換熱管為內螺紋紫銅管,換熱效率高。配置制冷劑分流器,分流均勻,鋁片為親水鋁片,間距大,不易結霜。
3. 冷凝器
采用高效管殼式冷凝器,或者套管式冷凝器和板式冷凝器,換熱效率高,不易結垢。冷凝器進水口處設有排水口,冬天不使用機組時可方便排水防止換熱器凍裂。
4. 風機
采用名牌低噪音風機,防水防塵,效率高,壽命長。
5. 膨脹閥
采用進口電子膨脹閥,精確調節制冷劑流量,機組能效高。
6. 控制器
采用名牌微電腦控制器和觸摸屏,各項參數顯示豐富,設置和操作方便,設有各種保護,如逆相保護、缺相保護、過流保護、排氣溫度保護、高低壓保護、低溫保護、水流保護,保證機組安全可靠運行。
7. 其他配件
其他配件采用名牌配件,運行可靠,壽命長,確保機組的高效、穩定、長壽命。
二、復疊式熱泵熱水機組使用說明—— 機組操作說明
1. 控制板接線


圖1.1 電源板接線示意圖




2. 控制板輸入輸出接口
|
強電輸入 |
三相四線輸入 |
相電壓220V |
|
開關量輸入 |
高壓開關1、2 |
干節點輸入(輸入不能帶電) |
|
低壓開關1、2 |
干節點輸入(輸入不能帶電) |
|
|
水流 |
干節點輸入(輸入不能帶電) |
|
|
低水位 |
干節點輸入(輸入不能帶電) |
|
|
高水位 |
干節點輸入(輸入不能帶電) |
|
|
關聯控制 |
短接 |
|
|
模擬量輸入 |
環境探頭 |
5K 熱敏電阻 |
|
蒸發盤管探頭1 |
5K 熱敏電阻 |
|
|
節流閥后溫度 |
5K 熱敏電阻 |
|
|
排氣探頭1、2、 |
5K 熱敏電阻 |
|
|
回氣探頭1、2、 |
5K 熱敏電阻 |
|
|
回水(工程回水控制) |
5K 熱敏電阻 |
|
|
出水 |
5K 熱敏電阻 |
|
|
水箱(以水箱的溫度做控制) |
5K 熱敏電阻 |
|
|
繼電器輸出 |
供水泵 |
220V |
|
循環風機 |
220V |
|
|
壓縮機1、2、 |
220V |
|
|
四通閥1、2、 |
220V |
|
|
曲軸加熱 |
220V |
|
|
蒸發風機 |
220V |
|
|
回水閥 |
220V |
|
|
補水閥 |
220V |
|
|
電加熱 |
220V |
注意:主板輸入輸出接口,請嚴格按照表中所列進行接線,不可將繼電器直接外接功率較大的設備對其進行供電,如果外部設備功率較大,需用交流接觸器進行推動。
3. 熱泵熱水機組使用說明——面板顯示與操作
3.1正常顯示界面
開機后進入該界面,在此界面中可以設定熱水的目標溫度,如圖所示。

3.2參數設置
在主界面點擊“參數設置”按鈕,然后輸入密碼“00001111”,點擊確定和登錄后,如下圖所示。



3.3設置項參數說明
|
溫差起停設置 |
加熱回差上限 |
用于控制設備在制熱過程中的停機溫差 該值需要除以10,如50表示5 |
0~50 (0) |
|
加熱回差下限 |
用于控制設備在制熱過程中的啟動溫差 該值需要除以10,如50表示5 |
0~50 (20) |
|
|
排氣回氣設置 |
排氣高溫設定 |
排氣溫度保護,壓縮機排氣溫度高于此溫度將會停機保護 |
100~125 (120) |
|
回氣低溫設定 |
在制冷過程中,壓縮機回氣溫度低于此溫度將會停機保護 |
-20~10 (0) |
|
|
化霜設置 |
化霜運行頻率 |
化霜過程中低溫級壓縮機的運行頻率 |
50~100 (80) |
|
化霜模式 |
有自動化霜和強制化霜,強制化霜時機組不檢測盤管溫度,所以需要使用者在化霜結束后轉換回自動化霜模式 |
默認自動 |
|
|
化霜起始溫度 |
在制熱過程中,設備壓縮機累計運行時間達到了設定的間隔時間,且盤管溫度低于起始溫度開始化霜 |
-30~10 (-3) |
|
|
化霜間隔時間 |
15~255(45) |
||
|
化霜結束溫度 |
在化霜過程中,當化霜時間超過設定的工作時間,或盤管溫度達到結束溫度,結束化霜 |
0~20 (12) |
|
|
化霜工作時間 |
0~18 (15) |
||
|
化霜完風機運行時間 |
化霜完成后,風機的運行時間 |
0~60 (30) |
|
|
水箱溫度<50度 化霜膨脹閥開度 |
在化霜時檢測水箱溫度,小于50度時膨脹閥的開度值 |
0~480 (480) |
|
|
50度<水箱溫度<70度 化霜膨脹閥開度 |
在化霜時檢測水箱溫度,大于50度且小于70度時膨脹閥的開度值 |
0~480 (384) |
|
|
水箱溫度>70度 化霜膨脹閥開度 |
在化霜時檢測水箱溫度,大于70度時膨脹閥的開度值 |
0~480 (240) |
|
|
電加熱設置 |
電熱工作模式 |
自動/強制關閉/強制開啟 |
默認自動 |
|
電熱環境溫度 |
在自動模式下,環境溫度小于該值啟動電加熱 |
-20~40 (-12) |
|
|
電熱啟動溫差 |
啟動電加熱時,實際溫度與目標溫度之間的差值 |
0~10 (2) |
|
|
電熱延遲時間 |
首次上電時運行電加熱的延遲時間 |
30~300 (30) |
|
|
循環泵設置 |
循環泵模式 |
自動/常開 自動模式下,實際溫度到達目標溫度后,循環泵隨壓縮機停止工作而停止。 常開模式下,實際溫度達到目標溫度后,循環泵繼續運行 |
默認自動 |
|
防凍設置 |
防凍環境溫度 |
環境溫度小于該值后,將會進入防凍模式 |
-10~10 (5) |
|
防凍出水溫度 |
防凍運行時,當實際的出水溫度大于該值結束本次防凍 |
5~20 (10) |
|
|
防凍間隔時間 |
2次運行防凍的間隔時間 |
5~30 (15) |
|
|
設備定時開關機設置 |
設備開1時間 |
定時時間段1,用于控制定時開關機 |
00:00~24:00(00:00) |
|
設備關1時間 |
00:00~24:00(00:00) |
||
|
設備開2時間 |
定時時間段2,用于控制定時開關機 |
00:00~24:00(00:00) |
|
|
設備關2時間 |
00:00~24:00(00:00) |
||
|
設備開3時間 |
定時時間段3,用于控制定時開關機 |
00:00~24:00(00:00) |
|
|
設備關3時間 |
00:00~24:00(00:00) |
||
|
定時關機溫度 |
在定時關機期間時,設備的目標溫度(暫時沒用) |
10~95 (20) |
|
|
供水設置 |
供水開1時間 |
供水時間段1,用于控制定時供水 |
00:00~24:00(00:00) |
|
供水關1時間 |
00:00~24:00(00:00) |
||
|
供水開2時間 |
供水時間段2,用于控制定時供水 |
00:00~24:00(00:00) |
|
|
供水關2時間 |
00:00~24:00(00:00) |
||
|
供水開3時間 |
供水時間段3,用于控制定時供水 |
00:00~24:00(00:00) |
|
|
供水關3時間 |
00:00~24:00(00:00) |
||
|
供水溫度 |
在供水功能開啟時,當水箱溫度達到該值后開啟供水 |
0~60 (42) |
|
|
回水設置 |
回水溫度 |
此溫度指的是工程末端回水的溫度,不是機器進出水口的回水溫度,需要特別注意 |
0~60 (42) |
|
補水設置 |
忙時補水溫度 |
在供水期間時的補水溫度 |
0~60 (42) |
|
閑時補水溫度 |
在非供水期間時的補水溫度 |
0~60 (20) |
|
|
膨脹閥設置 |
膨脹閥模式 |
過熱度/手動/環溫 |
默認過熱度 |
|
目標過熱度 |
在自動模式下,設置的目標過熱度 |
-20~20 (2) |
|
|
膨脹閥手動開度 |
在手動模式下設置的開度 |
160~480 (300) |
|
|
膨脹閥初始時間 |
膨脹閥的初始建立時間 |
60~600 (180) |
|
|
膨脹閥初始開度 |
膨脹閥的初始開度 |
160~480 (300) |
|
|
膨脹閥最小開度 |
膨脹閥的最小開度 |
30~480 (160) |
|
|
膨脹閥調節時間 |
膨脹閥的調節周期 |
5~60 (20) |
|
|
膨脹閥調節量 |
膨脹閥在正常情況下的調節量 |
0~50 (10) |
|
|
排氣/盤管高溫調節時間 |
設備排氣/盤管溫度變高后,膨脹閥的調節周期 |
5~60 (10) |
|
|
排氣/盤管高溫調節步數 |
設備排氣/盤管溫度變高后,膨脹閥的調節步數 |
0~50 (20) |
|
|
排氣調節開始溫度 |
實際的排氣溫度高于此值時,開啟高溫調節功能 |
90~120 (110) |
|
|
排氣調節結束溫度 |
實際的排氣溫度低于此值后,關閉高溫調節功能 |
90~120 (108) |
|
|
變頻器設置 |
運行頻率修正 |
變頻器在運行過程中,可以對頻率進行適當的修正 |
0~200 (100) |
|
變頻器最低運行頻率 |
指定變頻器運行的最低頻率值 |
15~50 (15) |
|
|
冷媒設置 |
冷媒種類選擇 |
R22/R 選擇高溫級冷媒的種類,如果選用的是R |
默認R |
|
壓力傳感器設置 |
壓力傳感器 |
根據機器的配置,來進行選擇是否使用壓力傳感器 |
默認不使用 |
|
壓力補償 |
對壓力傳感器的檢測值進行適當的補償 |
-- |
|
|
蒸發溫度保護 |
蒸發保護溫度 |
壓縮機在運行過程中檢測蒸發溫度值,當高于該值后膨脹閥的開度將減變小 |
10~50 (30) |
|
回油設置 |
回油間隔時間 |
低溫級在運行過程中,在設定時間內,壓縮機的運行頻率一直小于45Hz,那么就需要進行一次回油,回油時壓縮機運行頻率為50Hz,當回油運行時間達到設定的工作時間后,結束回油。 |
60~600 (300) |
|
回油工作時間 |
10~120 (30) |
3.4機組運行參數查詢
該界面進行機組運行參數的查詢,右邊綠色的指示燈表示設備已經運行和高低壓正常,紅色表示設備停止和高低壓故障,如圖所示。

注意:以上數據只是用于測試,非機組實際運行數據。
3.5報警查詢
該界面中顯示的是現有的故障信息,最上面的顯示框顯示報警信息何時產生,何時結束,左下角的顯示框顯示機器運行開始的所有報警信息,右下角顯示當前仍然存在的報警信息且這些報警故障仍然沒有解決掉,如圖所示。

3.6變頻器設置
由于本機中使用到了變頻器,變頻器的詳細設置方法請參考變頻器的說明書。如果是新的變頻器需要對以下幾項進行相應的設置。
|
設置項 |
設置項含義 |
設置內容 |
|
F0.02 |
運行命令給定方式 |
2:通信控制 |
|
F0.03 |
主頻率給定方式 |
9:通信給定 |
|
F0.17 |
加速時間1 |
2s |
|
F0.18 |
減速時間1 |
2s |
|
Fd.00 |
通信波特率 |
5:9600BPS |
|
Fd.01 |
數據格式 |
3:無校驗,<8-N-1> |
|
Fd.02 |
本機地址(系統1) |
系統1:設置為1,系統2:設置為2 |
|
Fd.05 |
協議選擇 |
1:標準Modbus |
三、復疊式熱泵熱水機組使用說明—— 運輸與安裝
1. 機組的運輸
搬運機組之前,確認安裝場地配備適合機組安裝的設備及工具,并能承受機組及所有附件的重量。
允許使用叉車搬運機組,但以鋼索起吊搬運為佳。在搬運安裝過程中應避免機組劇烈震蕩及受沖擊,以免造成機組損壞及銅管泄漏。
2. 機組的安裝
2.1機組安裝場地要求
機組應安裝在室外通風良好的地方,進出風口應無障礙物遮擋,保證進出風道順暢。應將機組安放在堅實平整的地方,請按說明書要求作好基礎,并在機組底架與基礎間墊上一層12~20mm減震橡膠墊,機組底架上設有地腳螺栓孔,用M8或M16毫米地腳螺栓,將機組底架固定到基礎上,沿前后、左右方向校平機組底架。機組周圍應留有一定的空間,供操作、檢查、維護使用。安裝間隙:前后空間最小1000mm;左右空間最小為1000
mm,最好在電控箱方向上多留些空間,以方便經常性的操作。高度最小為機組高度+2000 mm,確保出風順暢,進出風無短路現象。
由于機組除霜時會產生冷凝水,建議在機組兩側設計排水溝,以便冷凝水的順利排放。
注意:雨雪進入機組會降低機組的制熱效率和減少機組的使用壽命,機組安裝在有雨雪的露天場所時強烈建議設計遮擋雨雪的鐵棚。
2.2水管連接
客戶連接水管時,請按照水系統示意圖進行連接,只能用等于或大于機組進出水管管徑的水管,不能減小管徑。客戶應在出入口安裝防震軟接頭與閘閥,以減小震動傳導。水路系統上的管道、部件等應包裹隔熱保溫材料,避免熱量損失。管道系統須安裝過濾器、水流開關及水壓表等輔助設備。
2.3電源連接
客戶應備有專供機組使用的墻上配電設備(如空氣開關、保險等),本系列機組的電源有2種:三相電源380V━3φ━50H和單相電源220V━1φ━50H,控制系統的電源:220V━1φ━50Hz,電源電壓的穩定與相間電壓平衡的要求:相間電壓不平衡不得超過相間平均電壓的2%??蛻艄╇娤到y容量應足夠大,當供電系統容量不足,將引起機組啟動時電壓劇烈下降,至使機組不能啟動,嚴重時損壞機組。本系列機組運行時,允許的電壓波動不超過額定電壓的5%,機組的控制箱上設有電源進線孔,從墻上配電設備引出火線(三相電源為三條,單相電源為一條)、一條零線及一條地線,經該孔進入電控箱,將地線接于箱體固定螺絲上,三條火線(一條火線)與一條零線接于電源進線端子排的RST(L)及N端子上。至于壓縮機的電源引線、控制線路等出廠時己接好。在控制箱內有專供水泵、水流開關連鎖用的接線端子,用以保證先啟動水泵,后啟動機組。出廠時連鎖端子間連有短路線,請客戶按照機組的電控原理圖,連接好連鎖線路。
由于機組配有逆相、缺相保護,接線安裝時須注意線路相位是否正確,錯接相位及缺相時,機組均不能正常運行。
2.4安裝注意事項
水泵的供水壓力不能大于1Mpa,壓力過高將引起水側換熱器損壞。水泵安裝時請參照產品說明書所標明的水流量、水阻力等資料要求,水流量過大或過小均會對制冷系統造成影響,降低機組的制熱效果,水流量過低會導致系統高壓升高,嚴重時會造成機組報警停機。
水系統必須確保與機組連鎖,本系列機組已預留接線端子,請參照機組說明書連接好。
四、復疊式熱泵熱水機組使用說明——使用與維護
1. 機組開機
機組開機時,先檢查水系統和電氣系統等是否符合開機要求,確認符合要求后才能啟動機組。開機后注意觀察機組運行狀態,特別觀察水泵、風機、壓縮機啟動是否正常,有無其他異常的振動和聲音,如發現異常時需停機,檢查確認后再進行開機,必要時聯系售后人員進行處理。
2. 水箱溫度的設定
按操作說明調節設定水箱溫度后機組便能按所設定的目標溫度自行控制機組的運行。一旦水溫達到設定的溫度,機組會自動停機。
3. 使用與維護注意事項
3.1定期對水系統和電氣系統進行檢查維護,進行外觀檢查并進行處理,定期維護可及時發現機組運行故障,可大大延長機組的使用壽命。
3.2機組的控制線路和保護裝置均經過廠家的嚴格測試,使用及檢修過程中請勿隨意改動或拆除,機組部件如有損壞,請及時將機組型號、部件名稱告之經銷商或生產廠家,以便盡快為您提供維修服務。
3.3機組操作管理人員隨時觀察機組運行狀況,包括水循環情況,水壓表、冷媒、出入水溫度等各項指標,一旦發現異常情況應及時排除故障,強制運行必將對機組造成損害。
3.4若非緊急情況不得通過切斷主電源來關閉機組;若需短期停機(時間少于7天)只需按下機組的停止按鈕即可,不用關閉主電源,若機組在冬季長期停止使用,則先關閉機組,再關閉主電源,并將系統內的水放盡,避免冬季溫度過低導致系統內水結冰破壞系統。
注意:熱泵機組冬天不使用時,需保證機組在通電狀態,如果不能保證需將水全部排掉,防止凍裂水管和機組換熱器。
警告:熱泵機組屬高電壓、專業性較強的機械設備,應由專業技術人員進行正確的操作及維護,非專業技術人員請勿隨意操作及使用。
4. 故障與排除
|
故障現象 |
故障原因 |
檢查方法 |
解決方法 |
|
高壓報警 |
冷媒量過多 |
檢查排氣溫度及過熱度是否正常 |
適量排放冷媒 |
|
系統內有不凝結氣體 |
檢查排氣溫度及壓力是否正常 |
重新抽真空,加冷媒試機 |
|
|
水系統故障 |
檢查水泵的配置及運行情況 |
合理選擇符合機組要求(流量及揚程)的水泵 |
|
|
檢查水管路過濾器有沒有堵塞 |
清洗過濾器 |
||
|
檢查冷凝器進出水的溫差(正常為3-5℃) |
如溫度大于5℃則需增大流量 |
||
|
檢查水管管徑是否跟機組標準相符,水位及補充水浮球閥是否正常 |
按使用說明書上要求的標準配置 |
||
|
檢查冷凝器內部銅管是否太臟 |
清洗冷凝器 |
||
|
低壓報警 |
系統冷媒不足 |
檢查機組表面有無油漬及銅管裂縫現象 |
請與廠家聯系 |
|
冷凝器出液口連接蒸發器管路及配件損壞或故障 |
檢查膨脹閥開啟情況 |
請與廠家聯系 |
|
|
檢查膨脹閥出口是否因系統有水份而冰堵(當蒸發低過0℃時) |
請與廠家聯系 |
||
|
風機故障 |
風機接觸器是否正常 |
檢查或更換接觸器 |
|
|
風機運轉是否正常 |
檢查或更換風機 |
||
|
風機螺栓固定是否松動、噪音是否過大 |
緊固固定螺栓,檢查或更換風機風葉 |
||
|
風機進出風道是否順暢 |
檢查或更換場地 |
||
|
翅片式換熱器換熱效果差 |
翅片式換熱器太臟 |
清洗翅片式換熱器 |
|
|
壓縮機運行出現結霜現象、運行壓力偏低導致報警 |
風機故障 |
檢查風機運行狀況 |
按低壓報警風機故障項進行排查 |
|
冷媒量過多 |
檢查排氣溫度及過熱度是否正常 |
排放適量冷媒 |
|
|
膨脹閥開啟度過大 |
檢查膨脹閥開啟情況 |
適當調整膨脹閥 |
|
|
機組無法啟動 |
電源電壓不正常 |
檢查電源電壓是否符合該機組標準 |
調整供電電源、電壓及輸出容量 |
|
機組連鎖控制故障 |
檢查水流開關連鎖點是否接通 |
調整水流開關 |
|
|
三相電源相相序錯誤 |
檢查三相4線電源位置是否正確 |
將進線電源其中兩相電源調位即可 |
|
|
按啟動開關報警燈就亮 |
機組冷媒泄漏完 |
檢查機組兩個壓力表指示是否低于2kg/cm2 |
用干燥氮氣充壓檢漏 |
|
壓縮機或水泵過流保護動作 |
檢查壓縮機及水泵過流保護是否斷開 |
查明原因后復位 |
|
|
保護位置動作未復位 |
檢查相應的保護裝置,排除機組異常原因,是否本身性能不良或損壞 |
手動復位或更換保護裝置 |
|
|
壓縮機過流報警 |
電流大過設定值,保護跳脫 |
檢查電源電壓是否跟機組要求一致 |
增大電源線徑 |
|
檢查壓縮機本身有無故障 |
更換壓縮機 |
||
|
檢查機組運行工況、高低壓壓力是否在正常范圍內 |
增大水流量 |
||
|
高溫報警 |
出水溫度過高保護跳脫 |
出水溫度設置過高 |
檢查機組的溫度設定值 |
|
檢查水流量問題 |
檢查熱水進出水口之間的溫差,判斷流量是否正常 |
標準為3-5℃ |
|
|
水系統故障 |
檢查水系統內是否有空氣 |
排放空氣 |
|
|
檢查水系統水量及補充水是否正常 |
控制補水箱水位 |
||
|
檢查水泵的配置是否合適 |
合理選擇符合機組要求(流量及揚程)的水泵 |
||
|
檢查水泵運行情況,方向是否正確 |
以順時針運行為正確 |
||
|
檢查過濾器有無堵塞 |
清洗過濾器 |
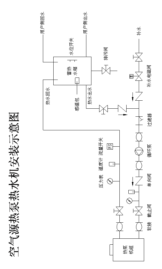
五、復疊式熱泵熱水機組使用說明——整體安裝示意圖

2月1日起,北京市率先實施新節能減排促消費政策??諝饽軣崴畽C組作為第四代熱水器,不僅安全性能高,還環保節能省電,近年來頗受歡迎,自然也在本次補貼范圍內。選購一級和二級能效空氣能熱水器,不僅能直接享受13%和8%補貼,最高可省800元,還能在后續使用過程中比普通熱水器省電70%以上。
作為正旭最受歡迎的復疊式熱泵熱水機組,很多用戶在使用過程丟失紙面版的使用說明書,想要在網絡上搜索該機型的使用說明書,因此小編特地整理熱泵熱水機的使用說明給用戶參考使用。但由于正旭熱泵熱水器的不斷更新改良,使用說明書也略有改變,老版本使用說明書與新款有一定不同,如需最新的版本也聯系供貨的經銷商或廠家。
值得一提的是,熱泵熱水機組在大學高校、工廠宿舍等都有大量應用,其熱水供應效果得到廠里總經理、學校后勤處等負責人的肯定。離不開空氣能熱水器具有高效節能的優勢,幫助工廠降低成本,特別是在疫情導致用工成本增加、很多企業破產倒閉的情況下,為該企業或學生減少水電費。
正旭熱泵手機版
關注微信公眾號